Вибір дизайну спорткара, зокрема наявність або відсутність гоночних смуг, завжди був відповідальним кроком. Зміна рішення згодом вимагає складного процесу демонтажу або нанесення плівки, що у професійних майстернях може коштувати тисячі доларів. Однак, завдяки новій технології від Porsche, у майбутньому власникам не доведеться йти на компроміси — зовнішній вигляд автомобіля можна буде змінити одним натисканням кнопки. Про це повідомляє Carscoops.

Як працює інноваційна розробка
Згідно з нещодавно опублікованою патентною заявкою, німецький автовиробник розробляє «активно кероване, оптично змінне покриття», яке наноситься на зовнішні кузовні панелі. Під впливом електричної напруги цей матеріал здатен повністю змінювати свій вигляд.

У Porsche зазначають, що в основі технології може лежати так званий електронний папір або парамагнітні покриття, які змінюють колір при подачі струму. Подібні рішення вже існують на ринку, але зазвичай вони застосовуються для розумного скла, що стає прозорим або затемненим на вимогу водія або пасажирів. Використання ж таких матеріалів безпосередньо на кузовних панелях є абсолютно новим підходом.
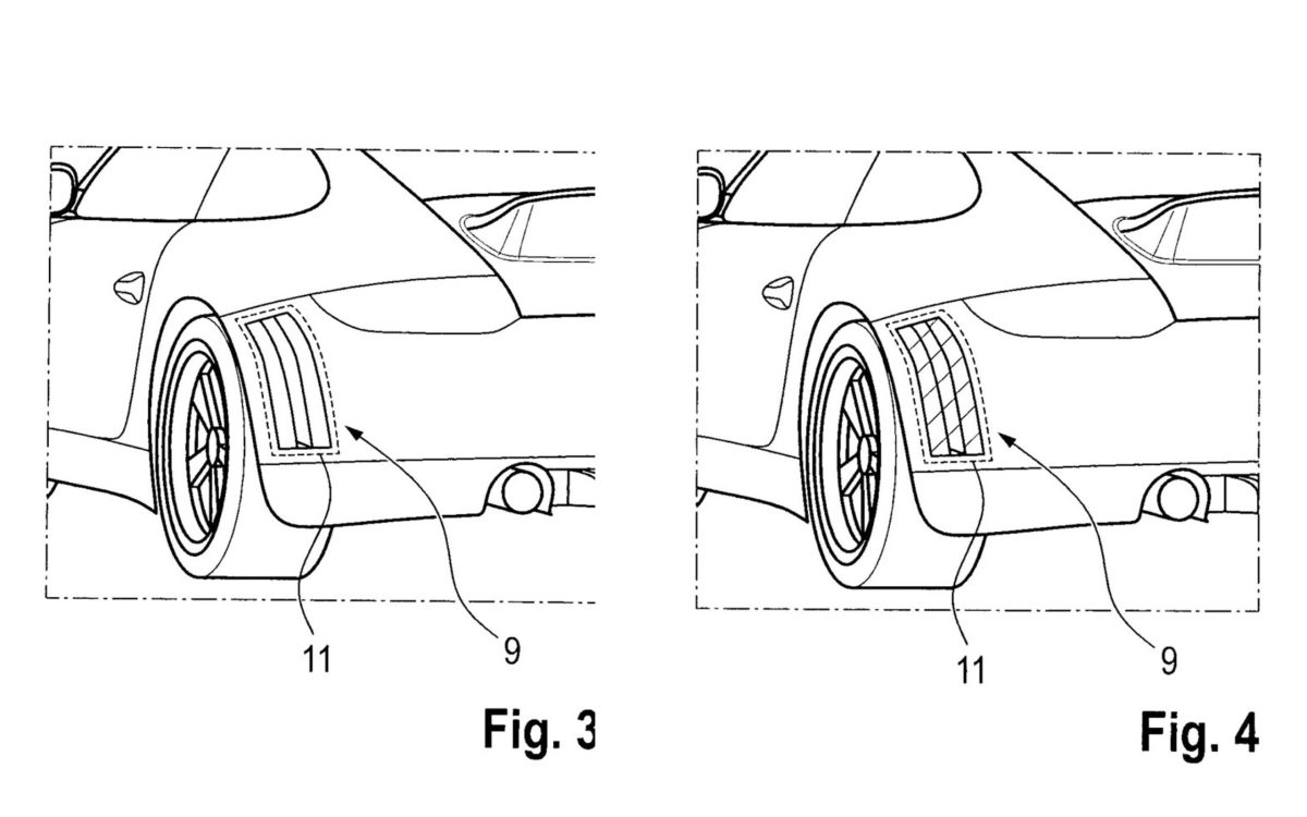
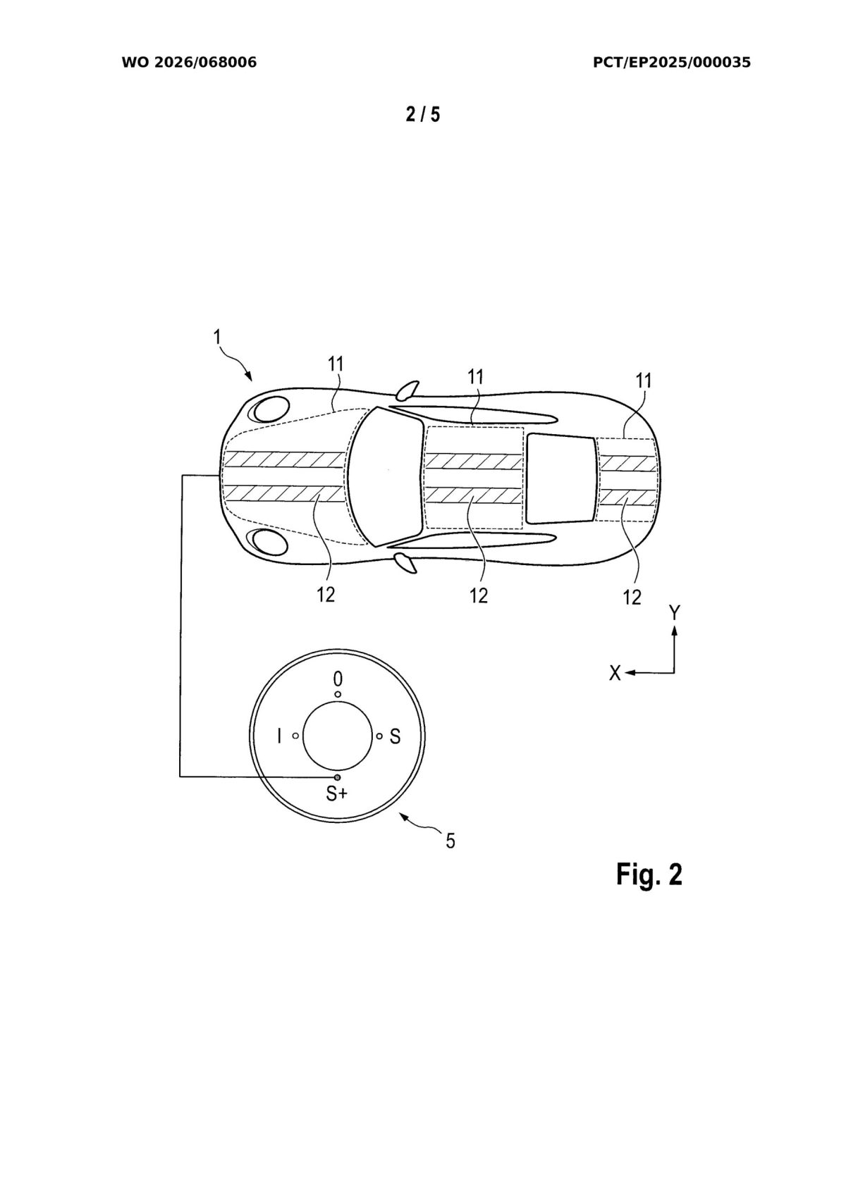
За задумом інженерів, фірмові гоночні смуги можуть автоматично з’являтися на кузові, коли водій активує режим Sport. Додаткові візуальні акценти також можуть підсвічуватися в зоні заднього дифузора або на бічних панелях за задніми колесами.

Практична користь: від автоспорту до електромобілів
У компанії наголошують, що ідея має не лише естетичний, а й функціональний вимір. Наприклад, під час автоспортивних змагань змінний дизайн допоможе швидко ідентифікувати конкретний болід серед інших однакових машин на треку. Крім того, інженери пропонують використовувати розумне покриття як зовнішній індикатор стану батареї для електромобілів.
Замість того, щоб перевіряти статус через мобільний додаток або дивитися на приладову панель в салоні, власнику достатньо буде просто поглянути на своє авто:

- зелене світіння елементів кузова означатиме, що батарея майже повністю заряджена;
- жовтий колір сигналізуватиме про зниження рівня заряду;
- червоний колір попередить про критично низький запас енергії.
Наразі це лише патент, і немає стовідсоткової гарантії, що технологія найближчим часом з’явиться на серійних автомобілях Porsche. Проте ця розробка ідеально вписується в сучасний тренд на глибоку персоналізацію та впровадження інновацій в автомобільній індустрії. Залишається сподіватися, що компанія доведе ідею до конвеєра та, можливо, навіть дозволить ліцензувати її іншим виробникам.





888