Ера механічних коробок передач поступово добігає кінця, поступаючись місцем тотальній електрифікації та високоефективним автоматичним трансмісіям. Однак компанія Porsche, яка завжди славилася особливою увагою до побажань справжніх ентузіастів водіння, не готова остаточно прощатися з класичним керуванням. Нещодавній патент німецького автовиробника розкриває амбітний план: створення унікальної коробки передач, що поєднає комфорт “автомата” з емоційністю традиційної “механіки”. Про це повідомляє Carscoops.
Уроки минулого та погляд у майбутнє
Ще 13 років тому компанія Porsche ухвалила суперечливе рішення відмовитися від шестиступінчастої механічної коробки у моделі 911 GT3 (покоління 991), запропонувавши клієнтам виключно семиступінчасту роботизовану PDK. Обурення фанатів бренду було настільки масштабним, що керівництву довелося швидко змінити курс. “Механіку” повернули в оновленій версії 991.2 і зберегли для багатьох наступних модифікацій.

Сьогодні, попри помітне відродження інтересу до ручних коробок, їхній час в індустрії об’єктивно вичерпується. Проте свіжий патент, поданий у серпні 2024 року та опублікований лише цього місяця, свідчить про те, що інженери шукають нестандартні шляхи для порятунку ручного перемикання швидкостей.
Як працюватиме гібридна трансмісія
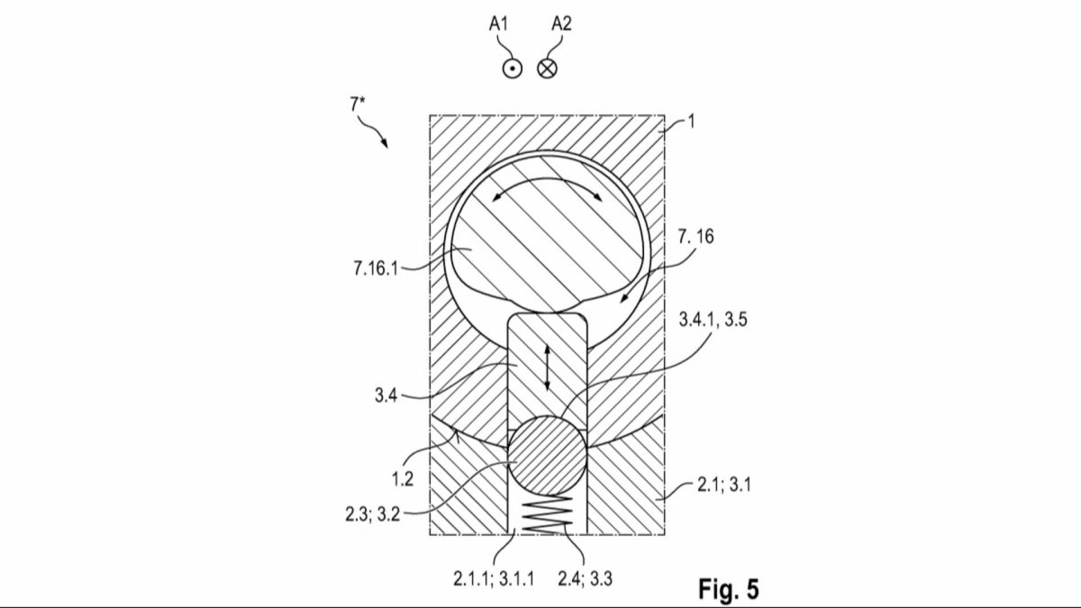
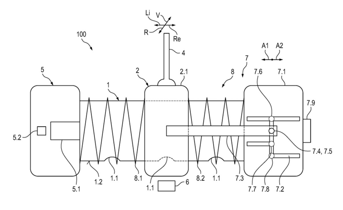
Ідея не є абсолютно новою для світу екстремальних авто. Патент Porsche описує концепцію, яка концептуально нагадує трансмісію надшвидких шведських гіперкарів Koenigsegg CC850 та Chimera. Суть полягає у можливості фізичної зміни режиму роботи важеля.

- Автоматичний режим: важіль переміщується лінійно (вперед-назад), дозволяючи зручно обирати стандартні положення Drive, Neutral та Reverse для повсякденних поїздок.
- Ручний режим: для максимального залучення у процес водіння селектор переводиться у класичну Н-подібну схему і працює в тандемі з реальною педаллю зчеплення.
Ціна інновацій: головний виклик для бренду
Створення та налаштування такого складного механізму — завдання надзвичайно важке і дороге. Наприклад, інноваційна система від Koenigsegg використовує фірмову архітектуру з шістьма індивідуальними зчепленнями, трьома валами та потужною електронікою, яка філігранно імітує відчуття справжньої механічної коробки. Але шведський виробник може дозволити собі подібні експерименти, адже всі витрати на розробку легко компенсуються захмарною ціною їхніх багатомільйонних лімітованих гіперкарів.
Для Porsche головним викликом стане адаптація цієї складної технології для більш масових моделей спортивної лінійки, де існують значно жорсткіші цінові обмеження.
Враховуючи, що сучасні роботизовані коробки PDK та класичні ручні трансмісії Porsche вже вважаються еталонними на ринку, інтеграція нової системи вимагатиме вагомих аргументів. Проте клієнтська база бренду традиційно поділена на пуристів, які жадають повного контролю, та шанувальників максимального комфорту. І цілком можливо, що інженери з Вайссаха нарешті знайшли ту саму ідеальну формулу, яка здатна примирити обидва табори.


Також читайте:

6591