Компанія Rolls-Royce активно працює над створенням повністю електричного кросовера, який має скласти конкуренцію майбутньому Bentley Barnato. Нещодавно фотошпигуни помітили тестовий прототип новинки на вулицях Мюнхена, і він приховує кілька дуже незвичайних дизайнерських рішень, що повертають до класичної автомобільної естетики. Про це повідомляє Carscoops.

Унікальна конструкція капота
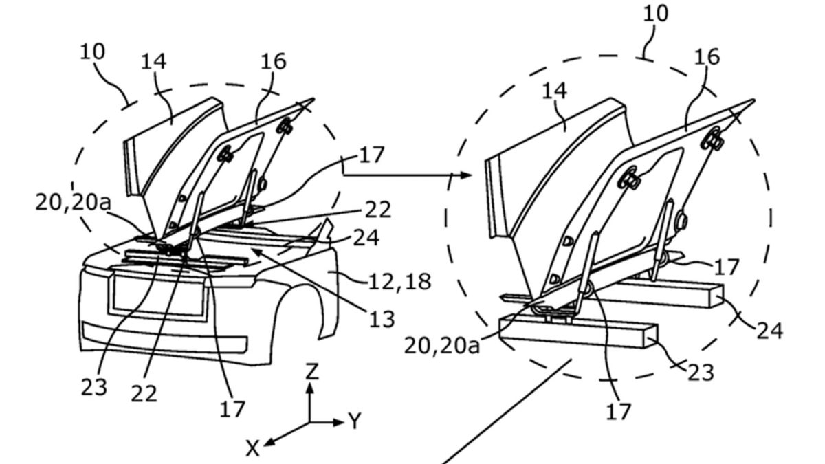
Головною особливістю тестового зразка став капот, розділений на кілька секцій. Завдяки детальним знімкам можна помітити центральну нерухому вісь, на передній частині якої розміститься традиційна висувна статуетка «Дух екстазу». По обидва боки від неї знаходяться дві рухомі панелі, що відкриватимуться вгору, подібно до кришок багажника ретро-автомобілів. Відомо, що британська марка запатентувала цю ідею у 2024 році, тому таке рішення має всі шанси дійти до серійного виробництва.

Екстер’єр у стилі Cullinan
Передня частина електромобіля вирізняється повністю закритою решіткою радіатора з інтегрованою камерою та широким нижнім повітрозабірником. Оптика виконана у роздільному форматі, причому на нижніх фарах можна розгледіти фірмові логотипи RR. Загальний силует новинки тісно перегукується з актуальною моделлю Cullinan: ті ж масивні боковини, виражена плечова лінія, плаский дах та товсті задні стійки.
Задня частина отримала унікальний бампер без вирізів для вихлопних труб, що логічно для електромобіля. Також туди перемістили нішу для номерного знака, яка у Cullinan розташована безпосередньо на дверцятах багажника. Експерти припускають, що новий електрокросовер не замінить поточний Cullinan, а продаватиметься паралельно з ним.

Технічні характеристики та інновації
Хоча офіційних даних щодо силової установки ще немає, очікується, що новинка запозичить ключові агрегати у купе Spectre. Базова версія може отримати двомоторну систему повного приводу та акумуляторну батарею на 102 кВт-год.
- Потужність складатиме 577 кінських сил при 900 Нм крутного моменту.
- Розгін з місця до 96 км/год займатиме близько 4,4 секунди.
- Заявлений запас ходу за циклом WLTP сягатиме 530 кілометрів.
- Очікується поява потужнішої модифікації Black Badge із віддачею 650 к.с. та 1075 Нм.
Крім того, розкішний кросовер може отримати новітні технології від материнської компанії BMW. Йдеться про систему eDrive шостого покоління з інноваційними циліндричними літій-іонними акумуляторами, які забезпечують на 20% вищу щільність енергії. Також очікується впровадження інших передових розробок з новітньої архітектури Neue Klasse.







4471