Німецькі автовиробники мають багаторічну репутацію тих, хто змушує людей купувати спеціальні інструменти. BMW вдалося підняти цю вимогу до спеціальних інструментів до рівня, якого ми ніколи раніше не бачили.

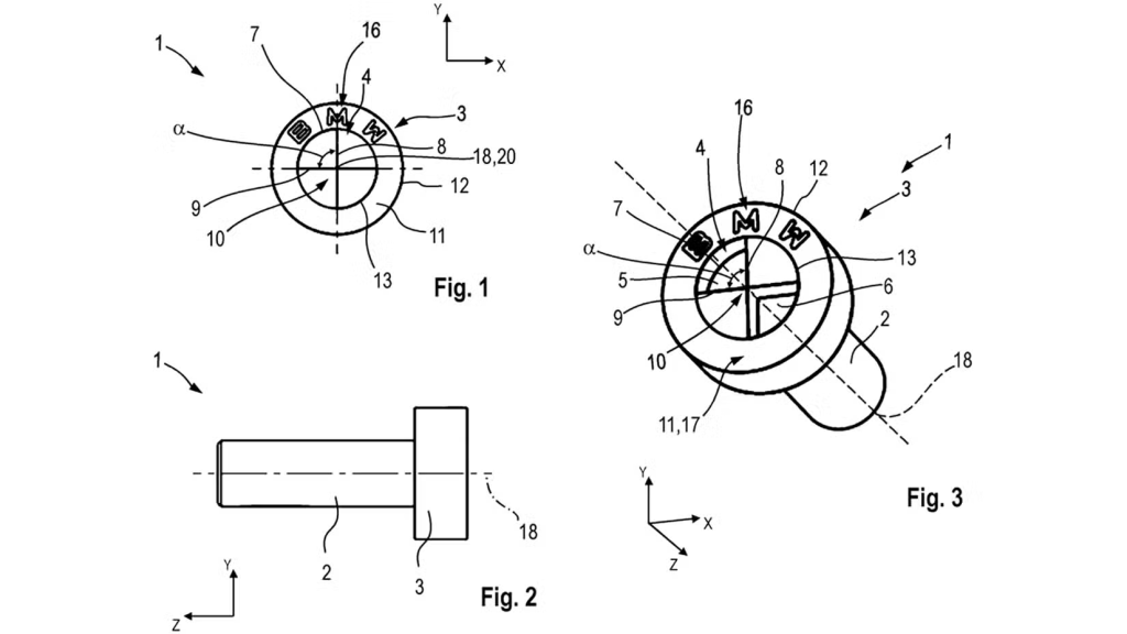
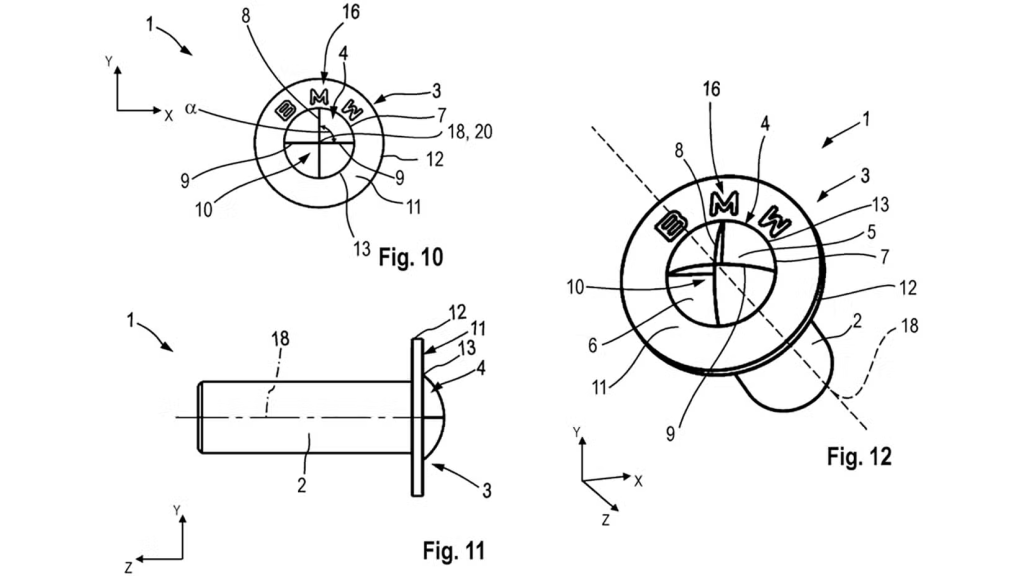
Їхній останній патент стосується нової головки гвинта у вигляді логотипа BMW, і його не можна викрутити звичайними інструментами.
Автовиробники і раніше використовували кріплення, яких не знайдете більше ніде. Однак цей винахід йже ще далі. Тому що, якщо BMW вирішить їх використовувати, пройде багато часу, перш ніж ви зможете підібрати потрібний набір інструментів деінде, окрім авторизованого дилера BMW.

Мова йде про головку гвинта, точніше, форму гвинта з головкою під внутрішній шестигранник. Замість звичного шліца плоскої головки, чи шестигранника, це історичне кругле кріплення BMW. Для додаткового шарму логотип BMW витиснений на краю головки гвинта.
BMW справді хоче використовувати їх, щоб люди самостійно не ремонтували свої авто. У патенті зазначено, що “форма заглиблень для зачеплення запобігає послабленню або затягуванню гвинта за допомогою звичайних конструкцій сторонніми особами”.

Ідея полягає в тому, щоб використовувати його для місць, де кріплення зазвичай видно. Наприклад, місця кріплення сидінь. Або інші деталі, такі як з’єднання “елементів салону з несучою конструкцією кузова”.

5755