
Виробник спортивних авто знову сколихнув автомобільний світ: Porsche подала патент на абсолютно новий W-подібний бензиновий двигун, який у максимальній конфігурації отримує вражаючі 18 циліндрів. Для сучасного автопрому це одна з найскладніших архітектур, і, схоже, бренд не збирається так просто віддавати позиції ери бензинових моторів навіть попри глобальний тренд на електрифікацію, пише Автогід.
Що саме винайшла Porsche
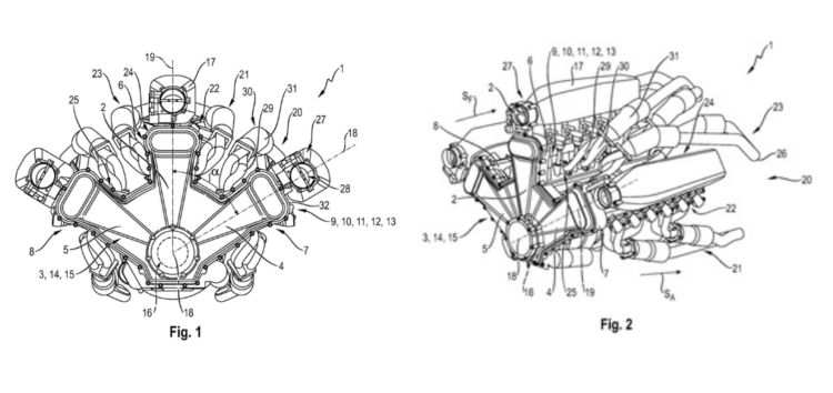
У документах патенту, які помітили автоаналітики, описаний компактний W-подібний агрегат, сконструйований для максимально ефективного використання простору. Його ключова ідея — три окремі рядні блоки по шість циліндрів кожен, що утворюють структуру W18.
При цьому конструкція дозволяє створювати й спрощені версії: W9 або W15 — залежно від того, які завдання стоятимуть перед майбутніми моделями.

Інженери Porsche застосували цікаве рішення: усі три ряди працюють на єдиний колінвал, що зменшує втрати енергії й робить мотор компактнішим. Впускна система розміщена зверху, а випускні колектори — між рядами циліндрів, що покращує охолодження та знижує нагрівання суміші.
У патенті зазначено, що така схема мінімізує втрати потоку повітря та дозволяє краще розділити зони впуску і випуску, що підвищує ефективність згоряння і відкриває шлях до збільшення потужності.
Три турбіни й габарити як у “рядної шістки”
Porsche вважає, що така компоновка дозволяє застосувати окремий турбокомпресор на кожен ряд, тобто мова йде про потенційний W18 із трьома турбінами. І все це — у розмірах, порівнянних зі звичайною «рядною шісткою».
Фактично це дає змогу створювати надзвичайно компактні, але гіпотетично надпотужні двигуни, які можуть підійти і для трекових гіперкарів, і для гран-турерів, і навіть для преміальних гібридних платформ.
Навіщо це Porsche
Патент ще не означає, що мотор піде в серію. Часто компанії просто фіксують перспективні розробки на майбутнє. Але той факт, що Porsche подала такий документ у 2025 році — це прямий сигнал: бренд не планує ховати бензинові технології.
Компанія активно інвестує у синтетичні палива (e-fuels) на своєму чилійському заводі — це може продовжити життя потужним ДВС в умовах жорстких екостандартів.
Більше того, Porsche вже підтвердила бензинову версію для нового покоління 718, а флагманський кросовер розробляється як гібрид, а не електрокар. Тобто навіть за умов домінування EV бренд залишає місце для класичного, механічного драйву.
Якщо проект коли-небудь матеріалізується, це може стати першим серійним W18 у сучасній історії автопрому. Навіть Bugatti з її легендарними W16 не наважувалася на три рядні блоки.
У Porsche вистачає досвіду у сміливих технічних рішеннях: від знаменитих опозитних двигунів 911 до суперечливих експериментів типу гібридної системи 918 Spyder. Тому ідея 18-циліндрового мотора логічно вписується у філософію бренду — поєднувати технічну екстравагантність із практичним результатом.
Чи побачимо ми W18 на дорозі? Скажімо так: якщо хтось і здатний втілити таку інженерну авантюру в реальність, то це точно Porsche.

6049