Компанія Tesla вміє дивувати у найбільш слушний момент. Напередодні очікуваної презентації довгобуду Tesla Roadster, опубліковано новий патент бренду, який розкриває інноваційний підхід до створення спортивних сидінь. Замість традиційних металевих кронштейнів та шарнірів виробник пропонує використовувати єдину монолітну оболонку. Про це повідомляє Carscoops.
Монолітна конструкція замість десятків деталей
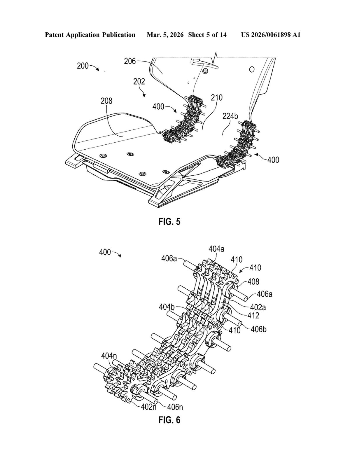
У документі описується каркас, який об’єднує подушку, спинку, підголівник і бічну підтримку в єдину композитну структуру. Це радикальний відхід від багатокомпонентних систем, які сьогодні використовуються у більшості спорткарів.

Застосування таких матеріалів, як кевлар-нейлонові та карбон-нейлонові композити, чітко вказує на головну мету Tesla — зниження ваги при збереженні максимальної міцності. Традиційні крісла складаються з десятків рухомих частин, кожна з яких додає маси та збільшує ризик поломки. Створюючи цільне сидіння, інженери планують отримати легшу конструкцію, яка буде значно менш схильною до зносу з часом.
Гнучкість та шість ступенів свободи
Патент також розкриває унікальний механізм налаштування. Замість металевих шестерень для відкидання спинки використовується так званий «інтегрований гнучкий шарнір». Це означає, що сам матеріал згинається у потрібних місцях, залишаючись жорстким у зонах, де необхідна надійна фіксація. Таке рішення дозволить ідеально налаштувати сидіння для підтримки водія під час екстремального розгону або проходження різких поворотів.

- Звичайні важкі електромотори та напрямні замінені на компактні актуатори.
- Система забезпечує рух у різних напрямках із шістьма ступенями свободи.
- Точність налаштування перевершує більшість сучасних преміальних автомобілів.
Чи варто чекати на швидку прем’єру?
Цей патент з’явився у дуже символічний час. Нещодавно Ілон Маск заявив, що остаточний дизайн нового Roadster буде розсекречено 1 квітня. Це неабияк підігріває інтерес до гіперкара, який роками перебував у стані розробки. Нагадаємо, що перший прототип показали ще у 2017 році, а серійний випуск амбітно планували на 2020-й.
Зниження ваги та оптимізація конструкцій завжди були основою інженерної філософії Tesla. Тому перехід до інтегрованої та надлегкої конфігурації сидінь виглядає абсолютно логічним кроком для автомобіля, який створюється для встановлення нових рекордів динаміки.



Також читайте:

6289