Компанія Mercedes-Benz вже давно зробила комфорт одним із ключових полів битви в преміум-сегменті, і мало хто з автовиробників приділяє цьому аспекту стільки уваги. Ще наприкінці 1990-х та на початку 2000-х років німецький бренд був одним із перших, хто запропонував масажні сидіння у серійних автомобілях, перетворивши щоденні поїздки на спа-процедуру. Тепер інженери зі Штутгарта планують піти ще далі. Про це повідомляє Carscoops.
Як працюватиме масаж голови?
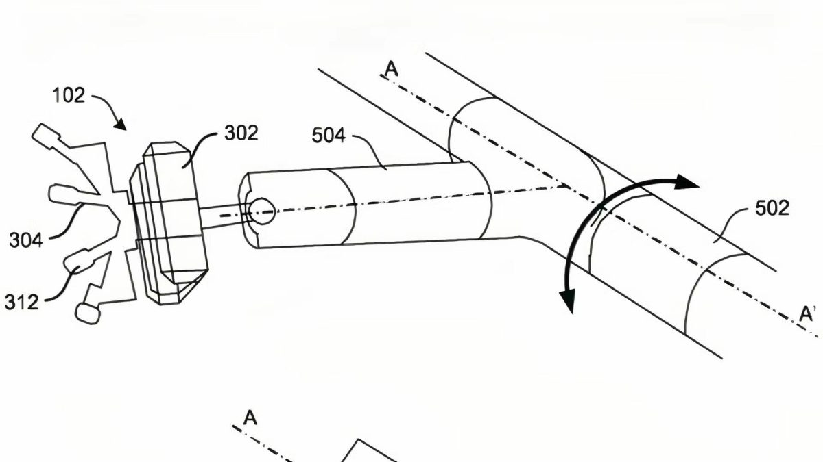
Згідно з нещодавно виявленою заявкою в Німецькому відомстві патентів і торговельних марок, Mercedes-Benz досліджує можливість інтеграції масажної системи безпосередньо у підголівники. Документація описує механізм, що складається з центрального вузла та кількох механічних важелів, прихованих всередині підголівника.

Передбачається, що кожен такий елемент буде здатний виконувати делікатні рухи, вібрації та обертання, створюючи ефект «кокона» комфорту для голови водія. Ключовою особливістю системи стане наявність сенсорів:
- Датчики визначатимуть зріст пасажира.
- Система фіксуватиме точне положення голови.
- Масаж автоматично підлаштовуватиметься під індивідуальні анатомічні особливості.
Комфорт без шкоди для безпеки
Оскільки автомобільні підголівники значно менші за спинки сидінь, навряд чи варто очікувати від цієї системи глибокого силового масажу. До того ж, надмірна інтенсивність могла б відволікати водія від керування, що є неприпустимим з точки зору безпеки. Найімовірніше, йдеться про легкі, заспокійливі дотики, покликані зняти втому під час тривалих подорожей.

Варто зазначити, що наявність патенту не гарантує миттєвої появи технології в серійних моделях. Автовиробники часто патентують ідеї, які ніколи не доходять до конвеєра. Однак сам факт такої розробки свідчить про те, що Mercedes-Benz продовжує шукати нові способи підвищення рівня розкоші у своїх автомобілях.


Також читайте:

2988