У світі електромотоциклів зростає консенсус щодо того, що ключем до успіху є орієнтація на менші, простіші міські електробайки.

Нещодавно поданий патент від Honda пропонує уявлення саме про цю філософію. Судячи з креслень, перед нами надзвичайно простий електромотоцикл, який, схоже, безпосередньо спрямований на ринки країн, що розвиваються.

Сам мотоцикл напрочуд старомодний. Замість алюмінієвих рам, вишуканої електроніки або високопродуктивних компонентів, у конструкції використовується звичайна сталева рама в поєднанні з дешевими та перевіреними доступними деталями.
Там, де зазвичай очікуєш побачити невеликий одноциліндровий двигун з повітряним охолодженням, розташований компактний електродвигун і пара знімних акумуляторів.
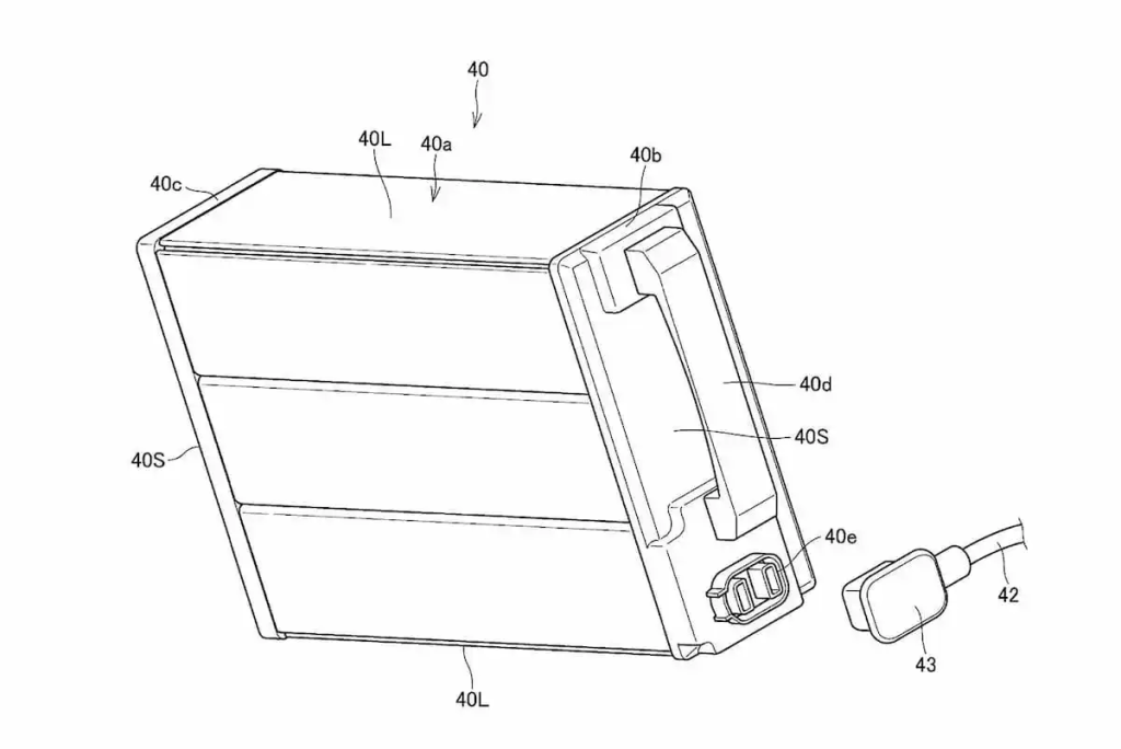
Насправді, ці акумулятори є найцікавішою частиною конструкції та головним акцентом патенту. Кожен акумулятор знаходиться в металевій клітці, встановленій з обох боків мотоцикла. Клітки відкидаються вперед.

Мотоцикл також використовує традиційний ключ запалювання, розташований за базовим дисплеєм. На байку також немає вбудованого зарядного пристрою, автоматизованих роз’ємів та складного обладнання. Коли акумулятори встановлені, їх просто підключають гнучкими кабелями.
Це цікавий крок, враховуючи, що Honda має власний стандарт змінних акумуляторів, який вона використовує у своїх скутерах та ліцензує для використання іншими компаніями. Поки що Honda не розкрила хімічний склад акумулятора, запас ходу чи показники продуктивності.

5290